Hyundai Accent (HC): Engine Control / Fuel System / Engine Control System

Contents:

Components and Components Location

- Components Location

1. ECM (Engine Control Module)
2. Mass Air Flow Sensor (MAFS)
3. Manifold Absolute Pressure Sensor (MAPS)
4. Intake Air Temperature Sensor (IATS)
5. Engine Coolant Temperature Sensor (ECTS) #1
6. Engine Coolant Temperature Sensor (ECTS) #2
7. Throttle Position Sensor (TPS) [integrated into ETC Module]
8. Crankshaft Position Sensor (CKPS)
9. Camshaft Position Sensor (CMPS) [Bank 1 / Intake]
10. Camshaft Position Sensor (CMPS) [Bank 1 / Exhaust]
11. Knock Sensor (KS)
12. Heated Oxygen Sensor (HO2S) [Bank 1 / Sensor 1]
13. Heated Oxygen Sensor (HO2S) [Bank 1 / Sensor 2]
14. Accelerator Position Sessor (APS)
15. A/C Pressure Transducer (APT)
16. Fuel Tank Pressure Sensor (FTPS)
17. ETC Motor [integrated into ETC Module]
18. Injector
19. Purge Control Solenoid Valve (PCSV)
20. Variable Force Solenoid (VFS) [Bank 1 / Intake]
21. Variable Force Solenoid (VFS) [Bank 1 / Exhaust]
22. CVVT Oil Control Valve (OCV) [Bank 1 / Intake]
23. CVVT Oil Control Valve (OCV) [Bank 1 / Exhaust]
24. Variable Intake Solenoid (VIS) Valve
25. Electric EGR Control Valve
26. Thermal Management Module (TMM) Motor
27. Canister Close Valve (CCV)
28. Ignition Coil
29. Main Relay
30. Fuel Pump Relay
31. Data Link Connector (DLC) [16-Pin]
32. Multi-Purpose Connector [6-pin]


1. ECM (Engine Control Module)2. Mass Air Flow Sensor (MAFS)

3. Manifold Absolute Pressure Sensor (MAPS)
4. Intake Air Temperature Sensor (IATS)
5. Engine Coolant Temperature Sensor (ECTS) #1

6. Engine Coolant Temperature Sensor (ECTS) #27. Throttle Position Sensor (TPS) [integrated into ETC Module]
17. ETC Motor [integrated into ETC Module]

8. Crankshaft Position Sensor (CKPS)9. Camshaft Position Sensor (CMPS) [Bank 1 / Intake]

10. Camshaft Position Sensor (CMPS) [Bank 1 / Exhaust]11. Knock Sensor (KS)

12. Heated Oxygen Sensor (HO2S) [Bank 1 / Sensor 1]13. Heated Oxygen Sensor (HO2S) [Bank 1 / Sensor 2]

14. Accelerator Position Sessor (APS)15. A/C Pressure Transducer (APT)

16. Fuel Tank Pressure Sensor (FTPS)18. Injector

19. Purge Control Solenoid Valve (PCSV)20. Variable Force Solenoid (VFS) [Bank 1 / Intake]

21. Variable Force Solenoid (VFS) [Bank 1 / Exhaust]22. CVVT Oil Control Valve (OCV) [Bank 1 / Intake]
23. CVVT Oil Control Valve (OCV) [Bank 1 / Exhaust]

24. Variable Intake Solenoid (VIS) Valve25. Electric EGR Control Valve

26. Thermal Management Module (TMM) Motor 27. Canister Close Valve (CCV)

28. Ignition Coil27. Main Relay
28. Fuel Pump Relay

31. Data Link Connector (DLC) [16-Pin]32. Multi-Purpose Connector [6-pin]


Description and Operation ➤

Engine Control Module (ECM) ➤

Mass Air Flow Sensor (MAFS)

- Description MAFS uses a hot-film type sensing element to measure the mass of intake air entering the engine, and send the signal to ECM.A large amount of intake air represents acceleration or high load conditions while a small amount of intake air represents deceleration or idle. The ECM uses this information to control the EGR solenoid valve and correct the fuel amount.

- Circuit Diagram [M/T]

Harness Connector

[A/T]

Harness Connector

- Inspection

1.Check the MAFS visually.

– Mounting direction correct.

– Any contamination, corrosion or damage on connector.

– Air cleaner's clogging or wet.

– MAFS cylinder's deforming or blocking by any foreign material.

2.Check any leakage on intake system and intercooler system.

- Removal

1.Turn the ignition switch OFF and disconnect the battery (-) cable.

2.Disconnect the MAFS connector (A).

3.Remove the clamp (B).

4.Remove the installation bolts and then remove the MAFS (C).

Mass air flow sensor clamp installation bolt :2.9 - 4.9 N.m (0.3 - 0.5 kgf.m, 2.2 - 3.6 lb-ft)Mass air flow sensor installation bolt :2.9 - 4.9 N.m (0.3 - 0.5 kgf.m, 2.2 - 3.6 lb-ft)

- Installation

   

• Install the component with the specified torques.

• Note that internal damage may occur when the component is dropped. In this case, use it after inspecting.

   

• Be careful not to damage the sensing element and the honey cell.

1.Install in the reverse order of removal.

ETC (Electronic Throttle control) System

- Description The Electronic Throttle Control (ETC) System consists of a throttle body with an integrated control motor and throttle position sensor (TPS). Instead of the traditional throttle cable, an Accelerator Position Sensor (APS) is used to receive driver input. The ECM uses the APS signal to calculate the target throttle angle; the position of the throttle is then adjusted via ECM control of the ETC motor. The TPS signal is used to provide feedback regarding throttle position to the ECM. Using ETC, precise control over throttle position is possible; the need for external cruise control modules/cables is eliminated.

- Specification Throttle Position Sensor (TPS) â–· Type : Absolute Rotary Sensor ICâ–· Specification

[ETC Motor]

ItemSensor Resistance
Coil Resistance (Ω)1.4 ~ 1.5 [25 ± 5°C (77 ± 41°F)]

- Fail-safe Mode
ItemsFail-safe
ETC MotorThrottle valve stuck at 9.2°
TPSTPS 1 faultReplace it with TPS 2
TPS 2 faultReplace it with TPS 1
TPS 1, 2 faultThrottle valve stuck at 9.2°

   

• When throttle valve is stuck at 9.2°, engine speed is limited at 1,200 ~ 1,700 rpm.

- Schematic Diagram

- Circuit Diagram [M/T]

Harness Connector

[A/T]

Harness Connector

- Inspection Throttle Position Sensor (TPS)

1.Connect a GDS on the Data Link Connector (DLC).

2.Start engine and check output voltages of TPS 1 and 2 at C.T and W.O.T.

Specification : Refer to Specification Section.

ETC Motor

1.Turn the ignition switch OFF.

2.Disconnect the ETC module connector.

3.Measure resistance between the ETC module terminals 1 and 2.

4.Check that the resistance is within the specification.

Specification : Refer to Specification Section.

- Removal

1.Turn the ignition switch OFF and disconnect the battery negative (-) cable.

2.Remove the resonator and the air intake hose.(Refer to Engine Mechanical System - "Air Cleaner")

3.Disconnect the ETC module connector (A).

4.Remove the installation bolts and then remove the ETC module (B) from the engine.

5.Disconnect the vapor hose (C).

Electronic throttle body Installation bolt :9.8 ~ 11.8 N.m (1.0 ~ 1.2 kgf.m, 7.2 ~ 8.7 lb-ft)

- Cleaning

1.Remove the ETC Module.(Refer to Engine Control System - "ETC System")

2.Keep the ETC module plate (A) open.

3.Clean the pollutant in the throttle body with a soft cloth moistened with cleaning fluid.

   

• Do not spray cleaning fluid directly onto ETC. Use a lint free cloth moistened with cleaning fluid.

• Be careful not to clean the coating fluid around the shaft. If coating fluid is removed, idling control failure might occur by foreign substance inflow or excessive air leakage.

4.After cleaning, re-install the ETC module and then perform the ETC module learning procedure.(Refer to Engine Control System - "ETC System" - Adjustment)

- Installation

   

• Install the component to the specified torques.

• Note that internal damage may occur when the component is dropped. In this case, use it after inspecting.

1.Install in the reverse order of removal.

- Adjustment ETC module learning procedure Be sure to perform the ETC module learning procedure when replacing or re-installing the ETC module.

1.Wait for 1 minute with the ignition switch ON.

2.Start the engine and hold the idle status for 15 minutes.

3.Waif for 1 minute with the ignition switch OFF.

4.Restart the engine, and check that the idle speed is stable.

   

• If the ETC module learning procedure is not performed after replacing or reinstalling the ETC module, MIL illumination with DTCs may occur.

Manifold Absolute Pressure Sensor (MAPS)

- Description Manifold Absolute Pressure Sensor (MAPS) is a speed-density type sensor and is installed on the surge tank. It senses absolute pressure of the surge tank and transfers the analog signal proportional to the pressure to the ECM. By using this signal, the ECM calculates the intake air quantity and engine speed.The MAPS consists of a piezo-electric element and a hybrid IC amplifying the element output signal. The element is silicon diaphragm type and adapts pressure sensitive variable resistor effect of semi-conductor. Because 100% vacuum and the manifold pressure apply to both sides of the sensor respectively, this sensor can output analog signal by using the silicon variation proportional to pressure change.

- Specification
Pressure (kPa)Output Voltage (V)
100.5
62.52.5
1154.5

- Inspection

1.Connect a GDS on Data Link Connector (DLC).

2.Check MAPS output voltage at idle and IG ON.

ConditionOutput Voltage (V)
IG ON3.9 ~ 4.1
Idle0.8 ~ 1.6

- Removal

1.Turn the ignition switch OFF and disconnect the battery negative (-) cable.

2.Disconnect the manifold absolute pressure sensor connector (A).

3.Remove the installation bolt (B), and then remove the sensor from the surge tank.

Manifold absolute pressure sensor installation bolt :6.9 ~ 8.8 N.m (0.7 ~ 0.9 kgf.m, 5.1 ~ 6.5 lb-ft)

- Installation

   

• Install the component with the specified torques.

• Note that internal damage may occur when the component is dropped. In this case, use it after inspecting.

   

• Insert the sensor in the installation hole and be careful not to damage when installation.

1.Install in the reverse order of removal.

Intake Air Temperature Sensor (IATS)

- Specification

Temperature [°C (°F)]Resistance (kΩ)
-40 (-40)38.88 ~ 50.77
-20 (-4)13.19 ~ 16.82
0 (32)5.11 ~ 6.11
20 (68)2.19 ~ 2.69
40 (104)1.02 ~ 1.26
60 (140)0.51 ~ 0.64
80 (176)0.27 ~ 0.35

- Singal Waveform

- Circuit Diagram [M/T]

Harness Connector

[A/T]

Harness Connector

- Inspection

1.Turn ignition switch OFF.

2.Disconnect IATS connector.

3.Measure resistance between IATS terminals 3 and 4.

4.Check that the resistance is within the specification.

Specification : Refer to "Specification"

- Removal

1.Turn the ignition switch OFF and disconnect the battery negative (-) cable.

2.Disconnect the manifold absolute pressure sensor connector (A).

3.Remove the installation bolt (B), and then remove the sensor from the surge tank.

Manifold absolute pressure sensor installation bolt :6.9 ~ 8.8 N.m (0.7 ~ 0.9 kgf.m, 5.1 ~ 6.5 lb-ft)

- Installation

   

• Install the component with the specified torques.

• Note that internal damage may occur when the component is dropped. In this case, use it after inspecting.

   

• Insert the sensor in the installation hole and be careful not to damage when installation.

1.Install in the reverse order of removal.

Engine Coolant Temperature Sensor (ECTS)

- Description The Engine Coolant Temperature Sensor (ECTS) is located in the cylinder block and cylinder head, and measures the temperature of the engine coolant. The thermistor of the cooling water temperature and resistance has a negative temperature coefficient (NTC) where the resistance decreases when the temperature rises and the resistance increases when the temperature decreases. The ECTS # 1 mounted on the cylinder head measures the coolant temperature from the engine, and the ECTS # 2 mounted on the cylinder block measures the coolant temperature entering the engine. The ECTS # 1 and the ECTS # 2 deliver the cooling water temperature to the ECM (Engine Control Module), which delivers the signal to the Thermal Management Module valve (TMM). The TMM that receives the signal controls the flow of coolant to adjust the coolant temperature. In addition, the ECTS calibrates the fuel injection quantity and the ignition timing based on the information of the cooling water temperature to prevent the engine failure and an engine-hunting during a cold start test.

- Specification
Temperature [°C (°F)]Resistance (kΩ)
-40 (-40)41.74 ~ 54.54
-30 (-22)23.54 ~ 29.94
-20 (-4)14.13 ~ 16.83
-10 (14)8.39 ~ 10.22
0 (32)5.28 ~ 6.29
10 (50)3.42 ~ 4.00
20 (68)2.31 ~ 2.59
30 (86)1.55 ~ 1.86
40 (104)1.08 ~ 1.21
50 (122)0.77 ~ 0.85
60 (140)0.56 ~ 0.61
70 (158)0.41 ~ 0.44
80 (176)0.31 ~ 0.33
90 (194)0.23 ~ 0.25
100 (212)0.18 ~ 0.19

- Circuit Diagram [M/T]

Harness Connector

[A/T]

Harness Connector

- Inspection

1.Turn ignition switch OFF.

2.Disconnect ECTS connector.

3.Remove the ECTS.

4.After immersing the thermistor of the sensor into engine coolant, measure resistance between ECTS terminals 1 and 2.

5.Check that the resistance is within the specification.

Specification : Refer to "Specification"

- Removal ECTS #1

1.Turn the ignition switch OFF and disconnect the battery negative (-) cable.

2.Remove the intake manifold.(Refer to Engine Mechanical System - "Intake Manifold")

3.Disconnect the engine coolant temperature sensor connector (A).

4.Remove the installation bolt, and then remove the sensor (B) from the cylinder block.

Engine coolant temperature sensor installation :9.8 - 11.8 N.m (1.0 - 1.2 kgf.m, 7.2 - 8.7 lb-ft)

ECTS #2

1.Turn the ignition switch OFF and disconnect the battery negative (-) cable.

2.Remove the alternator.(Refer to Engine Electrical System - "Alternator")

3.Disconnect the engine coolant temperature sensor connector (A).

4.Remove the installation bolt, and then remove the sensor (B) from the cylinder block.

Engine coolant temperature sensor installation :9.8 - 11.8 N.m (1.0 - 1.2 kgf.m, 7.2 - 8.7 lb-ft)

- Installation

   

• Install the component with the specified torques.

• Note that internal damage may occur when the component is dropped. If the component has been dropped, inspect before installing.

   

• Insert the sensor in the installation hole and be careful not to damage.

1.Install in the reverse order of removal.

Crankshaft Position Sensor (CKPS)

- Description Crankshaft Position Sensor (CKPS) detects the crankshaft position and is one of the most important sensors of the engine control system. If there is no CKPS signal input, fuel is not supplied.That is, vehicle can't run without CKPS signal. This sensor is installed on the cylinder block or the transaxle housing and generates alternating current by magnetic flux field which is made by the sensor and the target wheel when engine runs. The target wheel consists of 58 slots and 2 missing slots on 360 degrees CA (Crank Angle).

- Singal Waveform

- Circuit Diagram [M/T]

Harness Connector

[A/T]

Harness Connector

- Inspection

1.Check signal waveform of CKPS and CMPS using a GDS.

Specification : Refer to "Waveform"

- Removal

1.Turn the ignition switch OFF and disconnect the battery negative (-) cable.

2.Remove the engine room under cover.(Refer to Engine and Transaxle Assembly - "Engine Room Under Cover")

3.Disconnect the crankshaft position sensor connector (A).

4.Remove the installation bolt (B), and then remove the crankshaft position sensor.

Crankshaft position sensor installation bolt :7.8 ~ 11.8 N.m (0.8 ~ 1.2 kgf.m, 5.8 ~ 8.7 lb-ft)

- Installation

   

• Install the component with the specified torques.

• Note that internal damage may occur when the component is dropped. If the component has been dropped, inspect before installing.

   

• Apply the engine coolant to the O-ring.

   

• Insert the sensor in the installation hole and be careful not to damage.

1.Install in the reverse order of removal.

Camshaft Position Sensor (CMPS)

- Description Camshaft Position Sensor (CMPS) is a hall sensor and detects the camshaft position by using a hall element.It is related with Crankshaft Position Sensor (CKPS) and detects the piston position of each cylinder which the CKPS can't detect.The CMPS is installed on engine head cover and uses a target wheel installed on the camshaft. The Cam Position sensor is a hall-effect type sensor. As the target wheel passes the Hall sensor, the magnetic field changes in the sensor. The sensor then switches a signal which creates a square wave.[Bank 1 / Intake]

[Bank 1 / Exhaust]

- Singal Waveform

- Circuit Diagram [M/T]

Harness Connector CMPS [Bank 1 / Intake]

CMPS [Bank 1 / Exhaust]

[A/T]

Harness Connector CMPS [Bank 1 / Intake]

CMPS [Bank 1 / Exhaust]

- Inspection

1.Check signal waveform of CKPS and CMPS using a scan tool.

Specification : Refer to "Waveform"

- Removal

   

• DON’T remove the camshaft position sensor during engine running or right after engine stops, or a scald by the flowed out engine oil may occur.

[Bank 1 / Intake]

1.Turn the ignition switch OFF and disconnect the battery negative (-) cable.

2.Disconnect the camshaft position sensor connector (A).

3.Remove the installation bolt, and then remove the sensor (B).

Camshaft position sensor installation bolt :7.8 ~ 11.8 N.m (0.8 ~ 1.2 kgf.m, 5.8 ~ 8.7 lb-ft)

[Bank 1 / Exhaust]

1.Turn the ignition switch OFF and disconnect the battery negative (-) cable.

2.Disconnect the camshaft position sensor connector (A).

3.Remove the installation bolt, and then remove the sensor (B).

Camshaft position sensor installation bolt :7.8 ~ 11.8 N.m (0.8 ~ 1.2 kgf.m, 5.8 ~ 8.7 lb-ft)

- Installation

   

• Install the component with the specified torques.

• Note that internal damage may occur when the component is dropped. If the component has been dropped, inspect before installing.

   

• Apply the engine coolant to the O-ring.

   

• Insert the sensor in the installation hole and be careful not to damage.

1.Install in the reverse order of removal.

Knock Sensor (KS)

- Description Knocking is a phenomenon characterized by undesirable vibration and noise and can cause engine damage. Knock Sensor (KS) is installed on the cylinder block and senses engine knocking.When knocking occurs, the vibration from the cylinder block is applied as pressure to the piezoelectric element. At this time, this sensor transfers the voltage signal higher than the specified value to the ECM and the ECM retards the ignition timing. If the knocking disappears after retarding the ignition timing, the ECM will advance the ignition timing. This sequential control can improve engine power, torque and fuel economy.

- Specification
ItemSpecificationRemarks
Capacitance (pF)850 ~ 11501 Khz
Insulation registance (MΩ)850 ~ 1150Pin to Body

- Circuit Diagram

Harness Connector

- Removal

1.Turn the ignition switch OFF and disconnect the battery negative (-) cable.

2.Remove the intake manifold.(Refer to Engine Mechanical System - "Intake Manifold")

3.Remove the installation bolt (A), and then remove the sensor from the cylinder block.

Knock sensor installation bolt :18.6 ~ 24.5 N.m (1.9 ~ 2.5 kgf.m, 13.7 ~ 18.1 lb-ft)

- Installation

   

• Install the component with the specified torques.

• Note that internal damage may occur when the component is dropped. In this case, use it after inspecting.

1.Install in the reverse order of removal.

Heated Oxygen Sensor (HO2S)

- Description Heated Oxygen Sensor (HO2S) consists of zirconium and alumina and is installed on upstream and downstream of the Warm up Catalytic Converter (WCC).After it compares oxygen consistency of the atmosphere with the exhaust gas, it transfers the corresponding voltage signal to the ECM.In order that this sensor normally operates, the temperature of the sensor tip must be higher than predetermined temperature. So it has a heater which is controlled by the ECM duty signal. When the exhaust gas temperature is lower than the specified value, the heater warms the sensor tip.

- Specification [Bank 1 / Sensor 1]
ItemSpecification
Heater Resistance (Ω)Approx. 2.5 [20°C (68°F)]

[Bank 1 / Sensor 2]
ItemSpecification
Heater Resistance (Ω)Approx. 3.0 [20°C (68°F)]

- Circuit Diagram [M/T]

Harness Connector HO2S [Bank 1 / Sensor 1]

HO2S [Bank 1 / Sensor 2]

[A/T]

Harness Connector HO2S [Bank 1 / Sensor 1]

HO2S [Bank 1 / Sensor 2]

- Inspection

1.Turn the ignition switch OFF.

2.Disconnect the HO2S connector.

3.Measure resistance between HO2S heater terminals 3 and 4.

4.Check that the resistance is within the specification.[Bank 1 / Sensor 1]

ItemSpecification
Heater Resistance (Ω)Approx. 2.5 [20°C (68°F)]

[Bank 1 / Sensor 2]
ItemSpecification
Heater Resistance (Ω)Approx. 3.0 [20°C (68°F)]

- Removal [Bank 1 / Sensor 1]

1.Turn the ignition switch OFF and disconnect the battery negative (-) cable.

2.Disconnect the heated oxygen sensor connector (A).

3.Remove the heated oxygen sensor (B) using the special tool (A) [SST No. : 09392-1Y100] as shown below.

   

• Note that the SST (Part No. : 09392-2H100 or 09392-1Y100) is useful when removing the heated oxygen sensor.

Heated oxygen sensor installation :40.0 ~ 60.0 N.m (4.1 ~ 6.1 kgf.m, 29.5 ~ 44.3 lb-ft)

[Bank 1 / Sensor 2]

1.Turn the ignition switch OFF and disconnect the battery negative (-) cable.

2.Disconnect the heated oxygen sensor connector (A).

3.Lift the vehicle.

4.Remove the heated oxygen sensor (B) using the special tool (A) [SST No. : 09392-1Y100] as shown below.

   

• Note that the SST (Part No. : 09392-2H100 or 09392-1Y100) is useful when removing the heated oxygen sensor.

Heated oxygen sensor installation :40.0 ~ 60.0 N.m (4.1 ~ 6.1 kgf.m, 29.5 ~ 44.3 lb-ft)

- Installation

   

• Install the component with the specified torques.

• Note that internal damage may occur when the component is dropped. In this case, use it after inspecting.

   

• DON’T use a cleaner, spray, or grease to sensing element and connector of the sensor because oil component in them may malfunction the sensor performance.

• Sensor and its wiring may be damaged in case of contacting with the exhaust system (Exhaust Manifold, Catalytic Converter, and so on).

1.Install in the reverse order of removal.

Accelerator Position Sensor (APS)

- Description Accelerator Position Sensor (APS) is installed on the accelerator pedal module and detects the rotation angle of the accelerator pedal. The APS is one of the most important sensors in engine control system, so it consists of the two sensors which adapt individual sensor power and ground line. The second sensor monitors the first sensor and its output voltage is half of the first one. If the ratio of the sensor 1 and 2 is out of the range (approximately 1/2), the diagnostic system judges that it is abnormal.

- Specification
ItemsSpecification
APS 1APS 2
C.T0.7 ~ 0.80.33 ~ 0.43
W.O.T4.13 ~ 4.222.04 ~ 2.13

- Circuit Diagram [M/T]

Harness Connector

[A/T]

Harness Connector

- Inspection

1.Connect the GDS on the Diagnosis Link Connector (DLC).

2.Start engine and check output voltages of APS 1 and 2 at C.T and W.O.T.

Specification : Refer to Specification Section.

Fuel Tank Pressure Sensor (FTPS)

- Description Fuel Tank Pressure Sensor (FTPS) is a component of the evaporative emission control system and is installed on the fuel tank, the fuel pump, or the canister. It checks the purge control solenoid valve operation and detects a leakage of the system.

- Specification
Pressure
[kPa (kgf/cm², in H2O)]
Output Voltage (V)
-6.67 (-0.068, -26.8)0.5
02.5
+6.67 (0.068, 26.8)4.5

- Circuit Diagram (M/T)

Harness Connector

(A/T)

Harness Connector

- Inspection

1.Connect the GDS on the Data Link Connector (DLC).

2.Measure the output voltage of the FTPS.

Specification : Refer to "Specification"

- Removal

1.Turn the ignition switch OFF and disconnect the battery negative (-) cable.

2.Remove the rear seat.(Refer to Body - "Rear Seat")

3.Remove the fuel pump service cover (A).

4.Disconnect the fuel pump connector (A).

5.Disconnect the fuel tank pressure sensor connector (B).

6.Disconnect the fuel feed tube quick connector (C).

7.Disconnect the vapor tube quick connector (D).

8.Remove the locking ring (A) by using the SST [SST.: 09310-F3100] from the fuel tank.

   

• When removing the plate cover, be careful not to damage the fuel tank and fuel pump.

• When removing the plate cover, press the upper area with hand and rotate the wrench counter clockwise.

9.Remove the fule tank pressure sensor bracket (A).

10.Remove the fule tank pressure sensor (B).

- Installation

   

• Install the component with the specified torques.

• Note that internal damage may occur when the component is dropped. In this case, use it after inspecting.

   

• Insert the sensor in the installation hole and be careful not to damage when installation.

1.Install in the reverse order of removal.

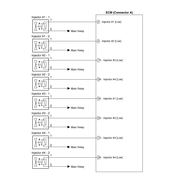
Injector

- Description A DPI (Dual Point Injection) system means a system with two injectors in one cylinder (intake port) and has a total of eight injectors.The injector is an electronically controlled fuel injector, a solenoid valve that supplies precisely calculated fuel to the engine in spray form for the optimal combustion. This helps satisfy various engine operating conditions. For better fuel efficiency, engine performance and reduced emissions, the ECM (Engine Control Module) adjusts the fuel injection quantity by controlling the operation time and the number of injectors to operate, based on the intake air quantity that enters the cylinder and air-fuel ratio in the exhaust. This helps the engine control system to meet the required air-fuel ratio. In order to guarantee an enhanced control, the injector is required to respond quickly and its spraying function is the key to achieve complete combustion.

- Specification
ItemSpecification
Coil Resistance (Ω)11.4 ~ 12.6 [20°C (68°F)]

- Circuit Diagram [M/T]

Harness Connector

[A/T]

Harness Connector

- Inspection

1.Turn ignition switch OFF.

2.Disconnect injector connector.

3.Measure resistance between injector terminals 1 and 2.

4.Check that the resistance is within the specification.

ItemSpecification
Coil Resistance (Ω)11.4 ~ 12.6 [20°C (68°F)]

- Removal

   

• In case of removing the high pressure fuel pump, high pressure fuel pipe, delivery pipe, and injector, there may be injury caused by leakage of the high pressure fuel. So don't do any repair work right after engine stops.

1.Turn the ignition switch OFF and disconnect the battery negative (-) cable.

2.Release the residual pressure in fuel line.(Refer to Fuel Delivery System - "Release Residual Pressure in Fuel Line")

3.Disconnect the harness wiring & injector connector.

4.Remove the installation nut, and then disconnect the fuel feed tube (A).

Delivery pipe installation nut (↔ Fuel feed tube) : 9.8 - 11.8 N.m (1.0 - 1.2 kgf.m, 7.2 - 8.7 lb-ft)

5.Remove the installation bolt (A), and then remove the delivery pipe & injector assembly from the engine.

Delivery pipe installation bolt :19.6 ~ 24.5 N.m (2.0 ~ 2.5 kgf.m, 14.5 ~ 18.1 lb-ft)

6.Remove the fixing clip (A), and then separate the injector from the delivery pipe.

- Installation

   

• Install the component with the specified torques.

• Note that internal damage may occur when the component is dropped. In this case, use it after inspecting.

   

• Apply the engine oil to the injector O-ring.

   

• Inspect the top of the injector for debris that could damage the filter mesh.

• Inspect the underside of the injector for bending in interference between other parts.

• After assembling the injectors, inspect and remove any magnetic materials that may affect the magnetic circuit.

• Inspect the injector O-ring when installing.

1.Install in the reverse order of removal.

Purge Control Solenoid Valve (PCSV)

- Description Purge Control Solenoid Valve (PCSV) is a solenoid valve and is installed on the surge tank and controls the passage between the canister and the intake manifold.The evaporative gases gathered in the canister are delivered to the intake manifold when the PCSV is open by ECM control signal.

- Specification
ItemSpecification
Coil Resistance (Ω)12.5 ~ 16.5 [20°C (68°F)]

- Circuit Diagram [M/T]

Harness Connector

[A/T]

Harness Connector

- Inspection

1.Turn ignition switch OFF.

2.Disconnect PCSV connector.

3.Measure resistance between PCSV terminals 1 and 2.

4.Check that the resistance is within the specification.

ItemSpecification
Coil Resistance (Ω)12.5 ~ 16.5 [20°C (68°F)]

- Removal

1.Turn the ignition switch OFF and disconnect the battery negative (-) cable.

2.Disconnect the purge control solenoid valve connector (A).

3.Disconnect the vapor hoses (B).

4.Remove the purge control solenoid valve (C).

- Installation

   

• Install the component with the specified torques.

• Note that internal damage may occur when the component is dropped. In this case, use it after inspecting.

   

• Be careful of foreign material not to flow into the valve.

1.Install in the reverse order of removal.

CVVT Oil Control Valve (OCV)

- Description The Continuously Variable Valve Timing (CVVT) system controls the amount of valve overlap by varying the amount of oil flow into an assembly mounted on the intake camshaft through ECM control of an oil control valve.As oil is directed into the chambers of the CVVT assembly, the cam phase is changed to suit various performance and emissions requirements.

1.When camshaft rotates engine rotation-wise: Intake-Advance / Exhaust-Retard

2.When camshaft rotates counter engine rotation-wise: Intake- Retard / Exhaust- Advance

- Inspection

1.Turn ignition switch OFF.

2.Disconnect OCV connector.

3.Measure resistance between OCV terminals 1 and 2.

4.Check that the resistance is within the specification.

Specification : Refer to "Specification"

- Removal

1.Turn the ignition switch OFF and disconnect the battery negative (-) cable.

2.Remove the cylinder head cover.(Refer to Engine Mechanical System - "Cylinder Head Cover")

3.When reomve the oil control valve, hold the hexagonal portion on the camshaft with a wrench to prevent the camshaft from rotating.

4.Remove the CVVT oil control valve (A).[Bank 1 / Intake]

[Bank 1 / Exhaust]

- Installation

1.Install in the reverse order of removal.

Variable Force Solenoid (VFS)

- Description CVVT (Continuous Variable Valve Timing) system advances or retards the valve opening and closing timing of the intake or the exhaust valve in accordance with the ECM control, calculated by the engine speed and the load. The CVVT control causes a valve over-lap or under-lap between the intake valve and the exhaust valve. This improves fuel efficiency, reduces exhaust gases (NOx, HC) and enhances the engine performance, thanks to reduced pumping loss, internal EGR (Exhaust Gas Recirculation) release, improved combustion stability, and increased volumetric efficiency.The system consists of the CVVT Oil Control Valve (OCV), which receives the ECM PWM (Pulse With Modulation) control signal to change the path of the engine oil to supply to or discharge from the cam phaser, the CVVT Oil Temperature Sensor (OTS), which measures the temperatures of the engine oil, and the cam phaser, which varies the cam phasing by using the hydraulic force of the engine oil.The oil delivered from the CVVT oil control valve varies the phase angle of the cam, by rotating the rotor connected to the camshaft of the cam phaser and causing the camshaft to rotate in the direction of its engine running rotation (intake advanced / exhaust retarded) or the opposite direction (intake retarded/ exhaust advanced).Variable Force Solenoid (VFS) [Bank 1 / Intake , Exhaust]

- Specification Variable Force Solenoid (VFS) [Bank 1 / Intake , Exhaust]
ItemSpecification
Coil Resistance (Ω)5.2 ~ 5.9 [20°C (68°F)]
Operating Voltage (V)10 ~ 16

- Circuit Diagram [M/T]

Harness Connector

[A/T]

Harness Connector

- Inspection

1.Turn the ignition switch OFF.

2.Disconnect the VFS connector.

3.Measure resistance between the VFS terminals 1 and 2.

4.Check that the resistance is within the specification.

ItemSpecification
Coil Resistance (Ω)5.2 ~ 5.9 [20°C (68°F)]

- Removal Variable Force Solenoid [Bank 1 / Intake]

1.Turn the ignition switch OFF and disconnect the battery negative (-) cable.

2.Disconnect the variable force solenoid connector (A).

3.Remove the installation bolt (B), and then remove the variable force solenoid(VFS) from the engine.

Variable force solenoid mounting bolt :9.8 ~ 11.8 N.m (1.0 ~ 1.2 kgf.m, 7.2 ~ 8.7 lb-ft)

Variable Force Solenoid [Bank 1 / Exhaust]

1.Turn the ignition switch OFF and disconnect the battery negative (-) cable.

2.Disconnect the variable force solenoid connector (A).

3.Remove the installation bolt (B), and then remove the variable force solenoid(VFS) from the engine.

Variable force solenoid mounting bolt :9.8 ~ 11.8 N.m (1.0 ~ 1.2 kgf.m, 7.2 ~ 8.7 lb-ft)

- Installation

   

• Install the component to the specified torque.

• Note that internal damage may occur when the component is dropped. If the component has been dropped, inspect before installing.

• Do not use any dropped variable force solenoid (VFS) valve.

• Note below cautions when installing variable force solenoid (VFS) valve.

1)After replacing the O-ring (A) of variable force solenoid (VFS) valve, apply engine oil on new O-ring (A).

2)Push variable force solenoid (VFS) valve up to the timing chain cover, and temporarily tighten the bolt.

3)Tighten the variable force solenoid (VFS) valve to the specified torque.

1.Install in the reverse order of removal.

Variable Intake Solenoid (VIS) Valve

- Description Variable Intake manifold Solenoid (VIS) valve is installed on the intake manifold. The VIS valve controls the vacuum modulator which activates a valve in the intake manifold. The ECM opens or closes this valve according to engine condition (Refer to below table).

Engine conditionVIS valveOperation
Medium speedClosedIncreasing engine performance in low engine speed by reducing intake interference among cylinders
Low / High speedOpenMinimizing intake resistance by shortening intake manifold length and increasing area of air entrance

- Specification
ItemSpecification
Coil resistance (Ω)30.0 ~ 35.0 [20°C (68°F)]

- Circuit Diagram [M/T]

Harness Connector

[A/T]

Harness Connector

- Inspection

1.Turn the ignition switch OFF.

2.Disconnect the VIS valve connector.

3.Measure resistance between VIS valve terminals 1 and 2.

Specification : Refer to "Specification"

- Removal

1.Turn the ignition switch OFF and disconnect the battery negative (-) cable.

2.Disconnect the VIS valve connector (A).

3.Disconnect the vacuum hoses (B) from the valve.

4.Remove the installation bolts, and then remove the VIS valve (A) from the surge tank.

Variable intake solenoid valve installtion bolt :9.8 ~ 11.8 N.m (1.0 ~ 1.2 kgf.m, 7.2 ~ 8.7 lb-ft)

- Installation

   

• Install the component with the specified torques.

• Note that internal damage may occur when the component is dropped. In this case, use it after inspecting.

   

• Be careful of foreign material not to flow into the valve.

1.Install in the reverse order of removal.

Electric EGR Control Valve

- Description The Electric EGR Control Valve is installed in between the EGR cooler and the exhaust line and is a solenoid valve. This valve controls EGR (Exhaust Gas Recirculation) amount by the ECM's duty control signal depending on engine load and the need of intake air.The Exhaust Gas Recirculation (EGR) system is used to add the exhaust gas to intake air in order to reduce an excess of air and the temperature in the combustion chamber.

- Specification [Motor]
ItemSpecification
Coil Resistance (Ω)2.21 ~ 2.99 [20°C (68°F)]

[Position Snsor]
ItemSpecification
Supply Voltage (V)5
Opened Voltage (V)0.7 ~ 1.25
Closed Voltage (V)3.85 ~ 4.15

- Circuit Diagram [M/T]

Harness Connector

[A/T]

Harness Connector

- Inspection [Motor]

1.Turn the ignition switch OFF.

2.Disconnect the EEGR valve connector.

3.Check that the EEGR valve is stuck by foreign material.

4.Measure resistance between motor 4 and 5 control terminals of the motor.

5.Check that the resistance is within the specification.

ItemSpecification
Coil Resistance (Ω)2.21 ~ 2.99 [20°C (68°F)]

[Feedback Position Sensor]

1.Connect the GDS to the data link connector.

2.Perform the fully open and the fully closing operation of the EEGR valve by using the actuation test.

3.Check that the voltage is within the specification.

ItemSpecification
Supply Voltage (V)5
Opened Voltage (V)0.7 ~ 1.25
Closed Voltage (V)3.85 ~ 4.15

- Removal

1.Turn the ignition switch OFF and disconnect the battery negative (-) terminal.

2.Remove the battery tray.(Refer to Engine Electrical System - "Battery")

3.Disconnect the harness wiring & injector connector.

4.Remove the EEGR cooler pipe (A).

5.Remove the EEGR control valve (C) after removing the mounting bolts (B).

Electric EGR cooler pipe installation bolt :18.6 ~ 23.5 N.m (1.9 ~ 2.4 kgf.m, 13.7 ~ 17.4 lb-ft)Electric EGR control valve installation bolt :12.7 ~ 14.7 N.m (1.3 ~ 1.5 kgf.m, 9.4 ~ 10.8 lb-ft)

- Installation

   

• Install the component with the specified torques.

• Note that internal damage may occur when the component is dropped. In this case, use it after inspecting.

   

• Be careful of foreign material not to flow into the valve.

1.Install in the reverse order of removal.

Canister Close Valve (CCV)

- Description Fuel Tank Pressure Sensor (FTPS) is a component of the evaporative emission control system and is installed on the fuel tank, the fuel pump, or the canister. It checks the purge control solenoid valve operation and detects a leakage of the system.

- Specification
ItemSpecification
Coil Resistance (Ω)19.8 - 20.8 [20°C (68°F)]

- Circuit Diagram (M/T)

Harness Connector

(A/T)

Harness Connector

- Inspection

1.Turn the ignition switch OFF.

2.Disconnect the CCV connector.

3.Measure resistance between the CCV terminal 1 and 2.

4.Check that the resistance is within the specification.

Specification : Refer to "Specification"

5.Disconnect the vapor hose connected with the canister from the CCV.

6.Connect a vacuum pump to the nipple.

7.Ground the CCV control line and apply battery voltage to the CCV power supply line.

8.Apply vacuum and check the valve operation.

Specification : Vacuum maintained

- Removal

1.Turn the ignition switch OFF and disconnect the battery negative (-) cable.

2.Lift the vehicle.

3.Disconnect the canister close velve extension connector (A).

4.Remove the canister protector (B).

5.Disconnect the canister close velve connector (A).

6.Remove the ventilation hose (B).

7.Remove the air filter (A).

8.Release the lever (A), and then separate the canister close valve (B) from the fuel tank air filter after rotating it in the direction of the arrow in the figure.

- Installation

   

• Install the component with the specified torques.

• Note that internal damage may occur when the component is dropped. In this case, use it after inspecting.

1.Install in the reverse order of removal.

Thermal Management Module (TMM) Motor

- Description Integrated Thermal Management Module (ITM) is a device that controls the coolant flow rate according to coolant temperature. At initial startup, the ITM quickly warms up the engine by controlling the flow of the coolant and this fast warm-up helps improve the fuel efficiency. When the coolant temperature rises, the ITM adjusts the cooling water temperature by controlling the valves to regulate the flow of coolant through a radiator or heater.

- Components

1. Integrated thermal management module (ITM)
2. Integrated thermal management module (ITM) O-ring
3. Heater pipe B
4. Heater water hose
5. Heater pipe A
6. Heater pipe A gasket
7. Water inlet fitting
8. Water inlet fitting gasket


- Circuit Diagram [M/T]

Harness Connector

[A/T]

Harness Connector

- Removal

1.Remove the integrated thermal management module (ITM).(Refer to Engine Mechanical System - "Integrated Thermal Management Module (ITM)")

   

• A separate replacement of the ITM (Integrated Thermal Management Motor) is not possible. You should place the new ITM (Integrated Thermal Management Module) assembly to fix the problem.

- Installation

1.Install in the reverse order of removal.

   

• A separate replacement of the ITM (Integrated Thermal Management Motor) is not possible. You should place the new ITM (Integrated Thermal Management Module) assembly to fix the problem.

Other information:

Hyundai Accent (HC) (2017 - 2022) Service Manual: Exterior Lights

Lighting control To operate exterior lighting on the Hyundai Accent, rotate the knob at the end of the control lever to one of the positions listed below. The available positions may differ by type and equipment. â–  Type A â–  Type B â–  Type C Type A (1) OFF position (2) Parking lamp position (3) Headlamp position Type B (1) OFF position (2) AUTO light position (3) Parking lamp position (4) Headlamp position Type C (1) DRL OFF position (2) AUTO position (3) Parking lamp position (4) Headlamp position Daytime running light (DRL) The Daytime Running Lights (DRL) help other road users notice the front of your Hyundai Accent during daytime driving, particularly in low-angle light after dawn and before sunset.

Hyundai Accent (HC) (2017 - 2022) Service Manual: Installing a Child Restraint System (CRS)

WARNING Before installing your child restraint system always: Read and follow the instructions provided by the manufacturer of the child restraint. Read and follow the instructions regarding child restraint systems in this manual. Failure to follow all warnings and instructions could increase the risk of the SERIOUS INJURY or DEATH if an accident occurs.

Contents

Categories

 
Copyright © 2026
0.0137